Prosonic 92F安装
Prosonic 92F安装
一, 安装位置

安装位置测量管中出现气体积聚或形成气泡现象时,会增大
测量误差,甚至中断测量。请避免管道中的下列安装位置:
●管道最高点。易积聚气体。
●直接安装在向下排空管道的上方。

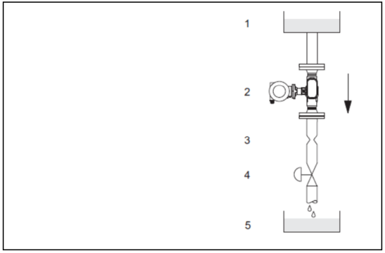
在向下排空管道上安装时,建议参考下图安装节流孔板或一段缩径管,防止管路空管。在向下排空管道上安装流量计(例如:批量控制应用场合)
1 =供料罐; 2=传感器;3=节流孔板(管件) ;4=阀门; 5=计量罐
二.安装向
安装方向务必确保传感器铭牌上的前头指向与管道内流体的流向一致。

安装方向示意图: A、B和C为推荐安装方向; D为特定应用条件下的安装方向
三.伴热
测量某些流体时,需要避免传感器处的热交换效应。建议为仪表配备电伴热(例如:电加热元件) ,或采用热夹套。
小心!
●避免电子部件过热!因此,请确保传感器与变送器,或分体式仪表的接线腔盖间的连接部位未使用保温材料。严格参考安装指南进行仪表安装,能有效降低电子部件处的温度。
●使用电伴热的仪表,如果电伴热基于相角控制或脉冲控制原理工作,电磁干扰是不可避免的。例如,电磁干扰值超出EN标准规定(正弦波信号: 30A/m)。此时,必须对传感器采取磁场屏蔽措施。
四.隔热
测量某些流体时,需要避免传感器处的热交换。多种保温材料可选,以满足隔热要求。

请注意:电子部件/延长颈处的最大绝缘厚度为20mm仪表水平安装时(变送器表头朝上) ,最小保温层厚度为10mm ,以避免热交换。但是,务必确保不超过最大保温层厚度20mm。
五.前后直管段
如可能,传感器的安装位置最好避开阀门、三通、弯头等管件。建议遵守下列前后直管段长度要求,以确保测量精度。存在两个或多个管件时,必须满足最大前直管段长度要求。

不同管道结构的最小前后直管段长度示意图A=前直管段B=后直管段1= 90°弯头或三通2=泵3= 2x90°弯头(不同平面上)4 =控制阀
六.送器安装
1.旋转变送器外壳.

1.拧松固定螺丝。
2.旋转变送器外壳至所需位置( max. 180°)。旋转轴上每隔90有-一个挡块(仅适用于一体式仪表) ,便于对准变送器。
3.拧紧固定螺丝。
2.转动现场显示屏

1.拧松电子接线腔盖板上的螺丝,将其从变送器外壳上拆下。.
2.从变送器卡槽上取下显示模块。
3.转动显示屏至所需位置( 每个方向.上的最大旋转角度为4x45) , 并将其重新固定在卡槽中。
4.将电子接线腔盖板重新安装在变送器外壳上。
3.安装分体式仪表
变送器可以直接安装在墙壁上或管路中。
3.1直接安装在墙壁上

小心!
●安装位置处的温度不得超出环境温度范围。
●避免阳光直射。
★不带现场显示单元的仪表的外形尺寸
3.2柱式安装

小心!
●安装位置处的温度不得超出环境温度范围。
●避免阳光直射。
●如果将设备安装在热管路中,请确保外壳温度不超过最高允许温度值:
★不带现场显示单元的仪表的外形尺寸
友情链接
服务范围
工业自动化产品专业代理,品质保证
技术领先,价格优势,报价迅速,产品全面
技术选型,产品报价,销售安装,工程售后,为您提供工业自动化一站式服务
自动化专业销售
Tel. 19925440503(微信同号) WhatsApp: +86 18576429229
联系工程师
扫码添加WhatsApp
