Promag 10 50 53电磁流量计安装
Promag 10/50/53电磁流量计安装
一、安装位置

安装位置:
测量管中出现气体积聚或形成气泡现象时,会增加测量误差。
因此,请避免下列安装位置:管道最高点,易积聚气泡!
●安装在向下排空管道的上方。

泵的安装位置:
不要将传感器安装在泵的入口侧。以避免抽压时损坏测量管内衬。使用活塞泵、隔膜泵或蠕动泵时需要安装脉动流缓冲器。

非满管管道:
倾斜非满管状态的管道需配置泄放口。空管检测(EPD)功能可检测管道状态:满管或非满管状态。应避免固体残渣积聚!请勿将传感器安装在倾斜管道的最低点处,建议安装泄放阀。

竖直管道:
在长于5米(16英尺)的向下管道中,需在传感器的下游安装虹吸管或泄放阀。以避免抽压时损坏测量管内衬。这种措施还可以防止系统因压力下降而产生气穴。
竖直管道上安装(h> 5 m/16 ft)
1.泄放阀
2.虹吸管
二、安装方向:
最佳安装方位有助于避免测量管内的气体积聚和残渣存积。此外,为了正确测量某些特殊流体,可以选用下列附件:
●电极清洗回路(ECC) :用于防止测量管中的导电性介质堆积,如测量易粘附的流体时
●空管检测(EPD)功能:于检测非满管管道,如测量除气流体或变换过程压力时
●可更换测量电极:用于测量磨损性流体时(仅Promag W)

垂直安装:
自排空管道系统以及采用了空管检测功能(EPD)或电极开路检测功能(OED)的测量系统的理想安装方位。

水平安装:
测量电极平面必须保持水平,这样可以防止由于气泡而导致的两个电极之间的短时间绝缘。空管检测功能仅当测量管水平安装且变送器外壳竖直向上时才能正常工作。否则当管道为半满管或空管状态时,无法保证空管检测功能能够正常工作。
1. EPD电极(空管检测) : (不适用于Promag H,DN2-15,1/12'-/")。
2.测量电极(信号检测)
3.参考电极(电势平衡) :不适用于Promag H

前后直管段:
如有可能传感器的安装位置应避开如阀门、三通管、弯头等管件。

传感器铭牌:
1、订货号/系列号
2、标定K系数/零点
3、口径/压力等级
4、流体温度范围TM:测量管
5、材料: 内衬/电极
6、特殊产品的预留信息
7、允许的环境温度
8、遵守设备文件
9、设备版本的保留的附加信息(认证、证书)
10、标定公差
11、附加信息(举例) :
EPD/MSU :空管检测电极
R/B :参考电极
12、防护等级
13、流体方向
三、振动:

如果振动非常剧烈,注意固定管路和传感器。防止设备振动的措施(L > 10 m/33 ft)注意:如果振动非常剧烈,建议分开安装传感器和变送器。
四、基座与支撑
如果标称直径为DN≥350(≥14") ,请将传感器安装在具有足够承重能力的基座上。

注意:有损坏危险!请勿使用外框承受传感器的重量。外框的变形有可能会损坏传感器内部的励磁线圈。
五、势平衡一接地
被测流体和传感器等电势是电磁流量计进行准确测的前提。大多数传感器都配备有标准参考电极,以确保等电势连接。通常,不需要采取其它措施或使用接地环确保电势平衡。Promag L、Promag W和Promag P参考电极(标准)。
●Promag H
一无参考电极。通过金属过程连接实现与被测流体等电势。
-采用塑料过程连接的系统,必须使用接地环实现系统电势平衡。

标准情况
在接地的金属管道中使用设备时,通过变送器的接地端子实现电势平衡。

特殊情况
流量计安裝在:
●未接地的金属管道中
此连接方法还适用于:
●无法通过常规方法实现系统电势平衡时
●可能出现极高的平衡电流时
两个法兰均通过接地电缆(铜线,横截面积至少为6mm2 ( 0.0093 in2))与管道法兰相连接,并接地。将变送器或传感器接线盒连接至专用接地端子上,实现系统电势平衡。
●DN≤300 (12') :通过法兰螺栓将接地电缆直接
安装在法兰的导电涂层上。
●DN≥350 (14") :接地电缆直接安装在金属支架上

流量计安装在:
●塑料管道中
●带绝缘内衬的管道中
此连接方法还适用于:
●无法通过常规方法实现系统电势平衡时
●可能出现极高的平衡电流时
通过附加接地环实现系统电势平衡。接地环通过接地电缆(铜线,横截面积至少为6 mm2 ( 0.0093in2))连接至接地端子上。安装接地环时,请遵守安装指南的要求。

流量计安装在:带阴极保护单元的管道中
流星计应安装在等电势的管道中。仅需通过接地电缆(铜线,横截面积至少为6 mm2 ( 0.0093 in2)将两个管道法兰相连接。通过法兰螺栓将接地电缆直接安装在法兰的导电涂层上。
此连接方法还适用于:
.必须遵守等电势安装适用规范的要求。
.管道和流量计间不得存在其他导电性电气连接。
.安装材料必须满足应用扭矩的要求。
六、连接电缆的长度

安装分体式仪表时,请遵循下列几点:
●将电缆固定敷设在金属屏蔽管道中。电缆的移动会导致测量信号失真,特别是流体的电导率较低时。
●请勿将电缆敷设在电气设备和开关柜附近。
●请确保变送器和传感器等电势。
●允许的电缆长度Lmax取决于流体的电导率。
灰色阴影区域=允许范围Lmax=连接电缆长度( 单位为[m/]/[ft])流体电导率(单位为μS/cm)
七、Promag L传感器的安装
●安装在两个传感器法兰(DN 50...300) 上的保护板用于固定接搭法兰,以吸在运输途中保护PTFE内衬。因此,在将传感器安装到管道中之前,切勿拆除这些保护板。
●在设备存储期间,不可拆除保护板。
●确保法兰内衬不被损坏或拆除。

注意!
螺丝、螺母和密封圈等不在供货范围之列,必须由客户提供。传感器安装在两个管道法兰之间:
●必须遵守所要求的扭矩
●如果使用接地环,请按照交货时附带的安装指南进行操作。
●为符合设备的技术规范,要求在测量段执行同中心安装
封圈安裝
安装密封圈时需遵守以下说明:
●硬橡胶内衬→始终要求使用附加的密封圈!
●聚氨酯内衬→无需使用密封圈。
●对于PFTE测量管内衬,无需使用密封圈。
●对于DIN法兰,仅使用符合DIN EN 1514-1要求的密封圈。
●确保所安装的密封圈不会伸入管路横截面部分。
注意!有短路危险!不要使用导电性密封材料,例
如石墨!测量管内侧会形成导电层,使测量信号短路。
螺丝紧固扭矩(Promag L)详视表格
八、Promag P传感器的安装
注意!安装在两个传感器法兰上的保护板可以保护上翻转的PTFE ,因此应在安装传感器前才拆
●在设备存储期间,不可拆除保护板。
●确保法兰内衬不被损坏或拆除。

注意!
螺丝、螺母和密封圈等不在供货范围之列,必须由客户提供。
传感器安装在两个管道法兰之间:
●必须遵守所要求的扭矩
●如果使用接地环,请按照交货时附带的安装指南进行操作。
密封圈安装:
安装密封圈时需遵守以下说明:
●对于PFA或PFTE测量管内衬,无需使用密封圈。
●对于DIN法兰,仅使用符合DIN EN 1514-1要求的密封圈。
●确保所安装的密封圈不会伸入管路横截面部分。
注意!有短路危险!不要使用导电性密封材料,例
如石墨!测量管内侧会形成导电层,使测量信号短路。
螺丝紧固扭矩(Promag L)详视表格
九、Promag H传感器的安装
封圈使用:在安装过程连接时,要确保相关密封圈洁净无尘,正确居中。
注意:使用金属过程连接时,必须牢固地拧紧螺丝。过程连接与传感器一起形成了金属连接,可确保规定的密封压力。
●对于塑料过程连接,请遵守润滑螺纹的最大扭矩值(7 Nm/ 5.2 lbf ft)。在过程连接和塑料对接法兰之间必须始终使用密封圈。
●应该根据应用情况周期性地更换密封圈,特别是使用成型密封圈(无菌型)的情况!密封圈的更换间隔取决于清洁周期、流体温度和清洁温度。密封圈替换件可作为附件单独订购。
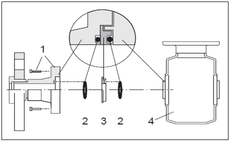
使用和安装接地环(DN 2 - 25,1/12'- 1') :
对塑料过程连接(例如法兰连接或粘合性连接) ,必须通过附加接地环来确保传感器和流体之间的电势平衡。如果接地环丢失,电化学反应会损伤电极,从而影响传感器精度或导致传感器受损。接地环(包括密封圈)安装在过程连接内部。端面距不受影响。

安装接地环
1 =过程连接六角螺栓
2=0形圈密封圈
4=传感器
3 =接地环或塑料环(占位零件)
a.拧松四个或六个六角螺栓(1) ,从传感器(4).上拆除过程连接。
b.从过程连接上拆除塑料环(3),包括两个0形圈密封圈(2)。
c.将其中一个0形圈密封圈(2)插回到过程连接的凹槽中。
d.按照图示将金属接地环(3)放入过程连接。
e.将第二个0形圈密封圈(2)插入到接地环的凹槽中。
f.将过程连接装回到传感器中。在安装过程中,请确保遵守润滑螺纹的最大扭矩值(7 Nm) (5.2 Ilbfft)。将传感器焊接到管道上(焊接管接头)
注意!
有损坏电子部件的危险!请确保焊接设备没有通过传感器或变送器接地。
a.请点焊过程连接,将传感器固定在管道内。合适的焊接夹具可作为附件单独订购。
b.拧松过程连接法兰上的螺丝,从管道上拆除传感器(包括密封圈)。
C.将过程连接焊接到管道中。安传感器装回到管道中。在安装过程中,请确保密封圈洁净和定位正确。
注意!
●在输送食物的薄壁管道上进行正确焊接时,即使安装了密封圈,也不会因为受热而损坏。然而,建议在焊接前拆除传感器和密封圈。
●如要进行拆卸工作,必须能够将管道打开大约8mm(0.31 in)。
十、旋转变送器外壳
在现场遇到客户观察表头不方便的时候,可以旋转显示表头。
非防爆区中使用的现场型铝外壳:

a.拧松固定螺丝
b.顺时针方向轻轻旋转变送器外壳至档块(螺纹顶部)
c.将变送器外壳逆时针旋转(最大360°)至所需位置。
1区或CI.I Div.1防爆场合中的使用的现场型铝外壳旋转现场型不锈钢外壳:


十一.安装墙装型外壳
1、直接安装在墙壁上
确定环境温度不超过允许范围( -20 --+60°C)安装在避光处,避免阳光直射。安装时将电缆进线口朝下

1.接线腔
2.紧固螺钉M6 : max.o6.5 mm (0.25") ;螺丝头: max.o10.5 mm (0.4")
3.外壳上的紧固螺钉安装孔
2、柱式安装尺寸图

3、盘式安装尺寸图

友情链接
服务范围
工业自动化产品专业代理,品质保证
技术领先,价格优势,报价迅速,产品全面
技术选型,产品报价,销售安装,工程售后,为您提供工业自动化一站式服务
自动化专业销售
Tel. 19925440503(微信同号) WhatsApp: +86 18576429229
联系工程师
扫码添加WhatsApp
