Promass 40/80/83安装示图
一、安装说明:
1.只要不产生气蚀现象,测量不受阀门、弯通、三通等管件的影响。为了防止测量管受外力影响产生变形造成测量误差,建议安装前检查并确认流量计前后管道中心是否正对 (处于同一水平线上且没有其他方向的偏移);前后管道上焊接的法兰是否正对,法兰及法兰孔没有偏移;流量计前后管道均建议做良好支撑防止管道震动对测量造成影响。为保护管道,建议当传感器过重时,采取适当的支架支撑。
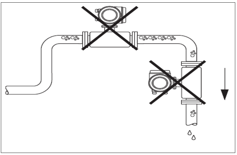
2.测量管内夹带气泡时,会产生测量误差,应避免以下安装位置:避免在以下管道位置安装流量计流量计安装在管道的最高点,会造成空气积聚流量计直接安装在向下的放空管道出口处。

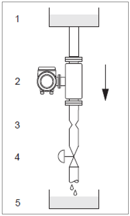
3.流量计的理想安装方式是安装在竖直管道上,而目流体自下而上流过流量计。当流量计安装在向下的管道上 (如批量控制)时,而且流体自上而下流动时,正确的安装方法如图所示:在流量计管路中安装一块尺寸小于管道公称直径的限流孔板,以防止测量管被抽空图中:
1 =供料罐 2 =传感器 3 =限流孔板 4 =阀5=批量贮罐
系统压力:确保不产生气穴现象是很重要的,因为气穴现象会影响到测量管的振动。正常条件下测量与水特性相似的流体时不需要采取特殊措施。液体沸点低(碳氢化合物、溶剂、液化气)或者在吸入式管道上时,系统应有足够高的压力。确保压力不低于蒸汽压,即液体不会沸腾。确保液体不产生气化。因此当系统压力足够高的时候,就会避免此种影影响。出于这个原因,传感器的最佳安装位置为:泵的下游(避免真空),垂直管道的最低点处。

4.确认传感器铭牌上的箭头方向和流体的流向(流体流过管道的方向)一致垂直安装:建议使流体流向朝上 (View V) ,可使夹带的固体颗粒下沉,气体经测量管上升测量管内流体可全部排空而避免固体沉积水平安装:测量管必须水平安装。正确的安装是变送器的外壳竖直向上或向下 (View H1/H2) ,应避免变送器外壳与管道处于同一水平面上。

其中:√ √ = 推荐安装位置,√ x= 在某些情况下推荐,x=不允许安装位置为了确保变送器的安装环境温度在-20%C...60C范围以内,我们推荐以下安装位置:D高温流体(>200 C),采用水平安装,变送器头部向下(View H2)或竖直安装(View V)2低温流体,采用水平安装,变送器头部向上(ViewH1)或竖直安装(View V特别安装说明:Promass F/E/H的测量管均为微弯管,对于有固体颗粒流体和气体溢出的流体,安装示图如下。因此,水平安装时必须考虑流体的特性。

5.对于前后直管段长度:在确保不会出现气穴的前提下,无需额外采取预防措施,避免管件(例如阀门、弯头或 三通)引起扰动,干扰测量,安装方法图如下。

友情链接
服务范围
工业自动化产品专业代理,品质保证
技术领先,价格优势,报价迅速,产品全面
技术选型,产品报价,销售安装,工程售后,为您提供工业自动化一站式服务
自动化专业销售
Tel. 19925440503(微信同号) WhatsApp: +86 18576429229
联系工程师
扫码添加WhatsApp
