CM44X变送器-余氯基本调试
CM44X变送器+余氯基本调试
1安裝
CM44x共有3种安装方式,如下:
1.1立柱安装

1.2横柱安装

1.3墙式安装

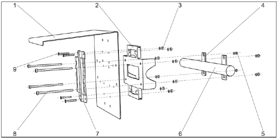
1.4测量系统的结构示意图

1 lquiline CM44x变送器,带防护罩
2变送器电源线
3 CCS142D余氯传感器
4流通式安装支架Flowfit CCA250
5安装支架进水口(出水口在背面.图中未显示)
6 CPS71D pH传感器
7 CYK10测量电缆
2接线
2.1 CM44x电源接线

注:请看清CM44x铭牌是220VAC还是24VDC供电。
2.2 CCS142D余氯传感器接线

1)棕、白绿、黄四根电缆线分别连接到87 , 88 , 97 , 98号端子。
2)传感器电缆屏蔽层需接地。
3)电流输出接31 , 32端子。电流输出为有源输出。
注:须保证所有的缆塞拧紧、密封。
3按键功能;
按下软键:直接选择菜单

旋转浏览器:在菜单中移动光标

按下浏览器:选择功能

旋转浏览器:改变数值

安下浏览键:接受新数值

4设置
4.1量程设置
在“菜单/设置/输出/电流输出x:x"菜单下设置"范围低值”和“范围高值”。

4.2变送器复位
在"菜单/诊断/系统测量/重置”菜单下选择“出厂默认”, 复位变送器。

5标定
进入"菜单/标定/余氯”选择“斜率/样品标定”按照菜单提示输入"标称值”完成标定。标定成功后显示新的斜率,询问是否接受调整的标定数据。标定失败后提示是否再次标定。

6常见故障代码
故障代码及含义自动显示在测量界面;可进入"菜单/诊断”查看故障代码,按“?”键查看故障含义。

7维护传感器
如果膜片污染,需清洗传感器。
■每季度或每年更换一次电解液,具体间隔视工况而定。
■定期更换膜片,间隔视工况而定。
■必要时标定传感器。
7.1清洗传感器
1)把传感器从流通式支架中取出。
2)使用自来水轻轻冲洗,或者放入1-5%的盐酸中浸泡几分钟。
7.2更换膜片及电解液
1)把测量腔室(位置1 )拧下。
2)拧下前端的膜片帽(位置3) , 更换膜片(位置2)。
3)测量腔室加入7-8ml电解液,直到液面达到测量腔室内螺纹。
4)把测量腔室放到平坦的桌面敲打几下,去除电解液中的气泡。
5)把盛满电解液的测量腔室拧到传感器上。多余的电解液将流出。

注意:
■电解液的寿命为1年,变黄的电解液不能被使用。
■电解液瓶用完请拧紧防止剩余电解液被氧化。
7.3保存传感器
停机时如果能够保证流通支架中有水,则传感器可
以不取出支架;如果不能保证,则须拆下传感器放
入盛放有湿润海绵的保护帽中。
7.4激活传感器
传感器长时间(> 1周)处于无氯介质中将导致其夫效,无响应或响应缓慢。此时需对传感器进行激活。把传感器从支架中取出,准备13%次氯酸钠放入烧杯中。把传感器放到烧杯液面上方5- 10mm处,待传感器测量nA信号将上升到几百nA后,再持续20分钟

友情链接
服务范围
工业自动化产品专业代理,品质保证
技术领先,价格优势,报价迅速,产品全面
技术选型,产品报价,销售安装,工程售后,为您提供工业自动化一站式服务
自动化专业销售
Tel. 19925440503(微信同号) WhatsApp: +86 18576429229
联系工程师
扫码添加WhatsApp
